Windows 10: Microsoft patent could make foldable Windows 10 devices usable

Discus and support Microsoft patent could make foldable Windows 10 devices usable in Windows 10 News to solve the problem; A number of Microsoft patents have shown off the foldable phone and PC designs from the company. Today, yet another Microsoft’s foldable device patent... Discussion in 'Windows 10 News' started by WinLatest, Jul 11, 2019.

  1. WinLatest New Member

    Microsoft patent could make foldable Windows 10 devices usable


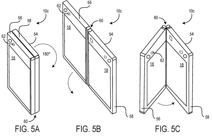
    A number of Microsoft patents have shown off the foldable phone and PC designs from the company. Today, yet another Microsoft’s foldable device patent has emerged online and unlike other patents, the latest one is all about the single or multiple GUI-based display modes.

    Spotted by us, the patent titled “SELECTIVELY DISPLAYABLE MULTIPLE DISPLAY MODE FOR A GUI” was filed by Redmond-based Microsoft in 2018 and published by USPTO on July 11, 2019.

    In the background of Microsoft’s patent, they wrote that computing devices with multiple displays can render programs and media contents across a broader display area (both of the displays). However, the device may fail to maintain the quality of the content when it is unfolded and it could result in a discontinuous appearance.

    Microsoft patent could make foldable Windows 10 devices usable Microsoft-foldable-device.jpg
    Image Courtesy: USPTO / Microsoft

    Microsoft says apps may lack awareness of text breaks and other features of how the program is displayed on a dual-screen device. Another example is broken toolbars or panels in apps such as image editor or video editor. Similarly, gaming is also difficult as the seam between the displays may obscure or break up relevant content, resulting in a deterioration of the gaming experience.

    Microsoft patent could make foldable Windows 10 devices usable Patent-for-foldable-PC.jpg
    Image Courtesy: USPTO / Microsoft

    Microsoft’s patent application proposes a new method to address the above quality issues on a dual-screen device:

    “While the hinged mobile computing device is depicted with the primary and secondary displays in a side-by-side orientation, it will be appreciated that other suitable arrangements, such as a top-to-bottom orientation, may be used to display the GUI in the multiple display mode,” the patent description reads.

    “As discussed above, when displaying the GUI in the multiple display mode, the primary view on the primary display may include all or a subset of the content of the launch window of the GUI, i.e., the main content of the GUI, and the secondary view on the secondary display may include a subset or none of the content of the launch window of the GUI, i.e., relevant information related to the main content. Typically, the main content and relevant information are different from each other, and also each is different in a respect from the originally presented content in the launch window for the application program. The main content and relevant information may alternatively be referred to as first content and second content,” Microsoft noted in the patent description.

    The post Microsoft patent could make foldable Windows 10 devices usable appeared first on Windows Latest

    Weiterlesen...
     
    WinLatest, Jul 11, 2019
    #1
  2. Brink Win User

    Microsoft’s Andromeda May Be a Modular Mobile Device


    Read more: Microsofts Andromeda May Be a Modular Mobile Device - Thurrott.com
     
    Brink, Jul 11, 2019
    #2
  3. BT pairing code for Microsoft Foldable Keyboard not displayed

    Hi Adrian,

    We would like to know more about your concern. Kindly provide us more details by answering the following questions:

    • Has the Microsoft Foldable Keyboard in Windows 10 computer ever worked?
    • What specific troubleshooting have you done so far?

    Meanwhile, to help resolve your concern, we suggest that you run the Hardware and Devices troubleshooter. To do this, refer to these steps:

    • On the Start menu, type Troubleshooting, and then hit
      Enter.
    • .Choose Hardware and Sound.
    • Select and run the Hardware and Devices troubleshooter.

    You can also refer to the steps provided in this article on how to set up a Bluetooth keyboard in Windows 10.

    Should you have further questions, let us know.
     
    Monica Cam, Jul 11, 2019
    #3
  4. Microsoft patent could make foldable Windows 10 devices usable

    Microsoft Selects Dolby Audio for Windows 10

    it would've been great if microsoft added HEVC decoders, LAV filters along with other codecs with Windows 10, and developing WMP to be better than VLC, KMPlayer and such sorts of media players.

    Nevertheless, this is good step for microsoft, by far.
     
    Analog_Interface, Jul 11, 2019
    #4
Thema:

Microsoft patent could make foldable Windows 10 devices usable

Loading...
  1. Microsoft patent could make foldable Windows 10 devices usable - Similar Threads - Microsoft patent foldable

  2. Microsoft patents thinner foldable device with split imaging system

    in Windows 10 News
    Microsoft patents thinner foldable device with split imaging system: Another patent related to Microsoft’s long-rumoured foldable or dual-screen Surface ‘Centaurus’ has appeared online. Rumours of the dual-screen Microsoft hardware have been swirling around since 2018, and a report recently claimed 2020 release with Windows Core OS and Android...
  3. Microsoft patent details foldable device’s orientation features

    in Windows 10 News
    Microsoft patent details foldable device’s orientation features: Microsoft is continuing its development of a folding device and more hints have been dropped in a new patent application uncovered by us. A new patent from Microsoft has revealed how a foldable phone can use a hardware-based orientation-specific actuator to control its...
  4. Patent reveals Lenovo’s foldable device in its fully glory

    in Windows 10 News
    Patent reveals Lenovo’s foldable device in its fully glory: Plenty of manufacturers have designs of their own foldable devices under consideration. It appears that Lenovo is also working on a foldable device of its own, and it could look similar to the device that Huawei unveiled earlier this year. A patent has revealed Lenovo’s new...
  5. Microsoft patents new display technology for foldable Windows PCs

    in Windows 10 News
    Microsoft patents new display technology for foldable Windows PCs: Rumours have revealed that Microsoft is developing a dual-screen (two panels) device codenamed ‘Centaurus‘ for a 2020 launch. If foldable or dual-screen devices are ever to become mainstream, display quality problem needs to be addressed, and it looks like Microsoft has a...
  6. Microsoft patents flexible display for foldable Windows 10 device

    in Windows 10 News
    Microsoft patents flexible display for foldable Windows 10 device: A report recently claimed that Microsoft has demonstrated a new dual-screen device internally to some of its employees. Yesterday, an independent developer found new tidbits of foldable Windows 10 devices and today we have unearthed a new patent that details a display...
  7. Two new patents detail Lenovo’s foldable Windows 10 device

    in Windows 10 News
    Two new patents detail Lenovo’s foldable Windows 10 device: Lenovo seems to be placing a major bet on foldable computing devices and a new prototype device was recently announced during a press briefing. Lenovo’s foldable ThinkPad X1 foldable tablet prototype is precisely a tablet PC device with an OLED 2K display that is foldable and...
  8. Lenovo’s new patent gives us the best look at foldable Windows 10 device

    in Windows 10 News
    Lenovo’s new patent gives us the best look at foldable Windows 10 device: A new patent from Lenovo gives us the best look at the possible foldable tablet that might run Windows 10. The patented device uses a connecting assembly (a hinge mechanism) and an innovative flexible display to change its form factor. First spotted by us, the patent titled...
  9. Dell patents a 2-in-1 Windows 10 device with foldable display and body

    in Windows 10 News
    Dell patents a 2-in-1 Windows 10 device with foldable display and body: Is Dell also working on its foldable dual-screen device running Windows 10? It could be possible, according to a patent applicated spotted by us. First spotted by us, a patent application entitled ‘Flexible information handling system display external hinge structure’ was...
  10. Patent hints at Lenovo’s foldable Windows 10 devices with flexible body

    in Windows 10 News
    Patent hints at Lenovo’s foldable Windows 10 devices with flexible body: Back in 2017, Lenovo applied for a US patent for a foldable, flexible laptop device that would apparently run on Windows 10. The patent for an interesting laptop-sized device with a virtual keyboard and flexible body details how Lenovo is approaching the market with the new...